深海儀器懸掛吊拉防扭分支纜繩
摘要
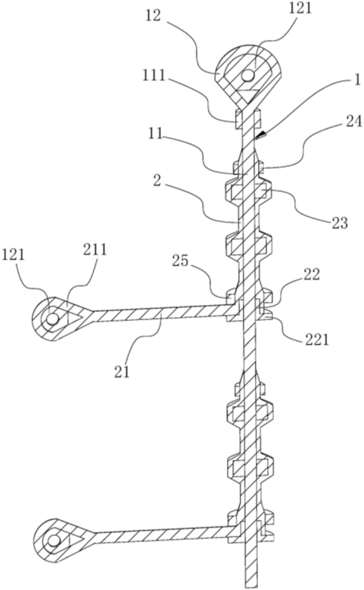
這種纜繩涉及深海儀器懸掛技術領域,具體涉及一種深海儀器懸掛吊拉防扭分支纜繩,其包括吊拉主纜,吊拉主纜包括主纜編織層,主纜編織層固定連接有主纜繩環,主纜編織層外套設有多個分支編織層,分支編織層兩端均固定連接于主纜編織層上,分支編織層一端設置有分支繩纜,分支繩纜遠離分支編織層一端固定連接有分支繩環,主纜繩環和分支繩環內均固定連接有環眼連接件;分支編織層遠離主纜繩環一端固定連接有固定塊,固定塊位于分支編織層與主纜編織層之間,固定塊轉動連接于主纜編織層,主纜編織層固定連接有多個防扭節,防扭節抵接于分支編織層內側,這種分支纜具有更強的防扭能力和抗拉能力。

1 .一種深海儀器懸掛吊拉防扭分支纜繩,包括吊拉主纜 (1),其特征在于:吊拉主纜 (1)包括主纜編織層(11),主纜編織層(11)固定連接有主纜繩環(12),主纜編織層(11)外套設有多個分支編織層(2),分支編織層(2)兩端均固定連接于主纜編織層(11)上,分支編織層(2)一端設置有分支繩纜(21),分支繩纜(21)遠離分支編織層(2)一端固定連接有分支繩環(211),主纜繩環(12)和分支繩環(211)內均固定連接有環眼連接件(41)(121);分支編織層(2)遠離主纜繩環(12)一端固定連接有固定塊(22),固定塊(22)位于分支編織層(2)與主纜編織層(11)之間,固定塊(22)轉動連接于主纜編織層(11),主纜編織層(11)固定連接有多個防扭節(23),防扭節(23)抵接于分支編織層(2)內側。
2 .根據權利要求1所述的一種防扭分支纜,其特征在于:分支編織層(2)遠離分支繩纜(21)一端編織于主纜編織層(11)內。
3 .根據權利要求1所述的一種防扭分支纜,其特征在于:固定塊(22)遠離主纜繩環(12)一端固定連接有堵頭(221),堵頭(221)伸出分支編織層(2)且堵頭(221)的橫截面直徑大于分支編織層(2)的橫截面直徑。
4 .根據權利要求3所述的一種防扭分支纜,其特征在于:主纜編織層(11)靠近主纜繩環(12)位置處固定連接有第一緊固環(111),分支編織層(2)靠近支撐繩纜遠離堵頭(221)一側位置處固定連接有第二緊固環(24),分支編織層(2)另一端固定連接有第三緊固環(25)。
5 .根據權利要求1所述的一種深海儀器懸掛吊拉防扭分支纜繩,其特征在于:固定塊(22)和防扭節(23)表面粗糙設置。
6 .根據權利要求1所述的一種防扭分支纜,其特征在于:主纜編織層(11)外套設有多個轉動環(13),轉動環(13)均抵接于分支編織層(2)內側,轉動環(13)均相互抵接,轉動環(13)均固定連接有具有彈性的凸板(131),凸板(131)沿主纜編織層(11)的長度方向設置,轉動環(13)與主纜編織層(11)之間填充有滑石粉(132)。
7 .根據權利要求6所述的一種防扭分支纜,其特征在于:每個轉動環(13)一側均固定連接有T型凸起(133),T型凸起(133)沿轉動環(13)圓周方向設置,每個轉動環(13)另一側均開設有T型滑槽(134),T型滑槽(134)沿轉動環(13)圓周方向設置,每個轉動環(13)的T型凸起(133)均滑動連接于相鄰轉動環(13)的T型滑槽(134)內。
8 .根據權利要求6所述的一種防扭分支纜,其特征在于:主纜編織層(11)內設置有光纖(3),光纖(3)外套設有保護管(31),保護管(31)外固定連接有熱熔膠層(32),保護管(31)外固定連接有加強筋(311),加強筋(311)沿保護管(31)長度方向設置,保護管(31)靠近分支繩纜(21)位置處固定連接有分支管(33),分支管(33)固定連接于分支纜內,光纖(3)伸入分支管(33)內,分支管(33)遠離保護管(31)一端固定連接有接頭(34),接頭(34)露出分支繩纜(21),光纖(3)固定連接于接頭(34)上,靠近分支管(33)的轉動環(13)開設有通槽(135),分支管(33)穿過通槽(135)設置。
9 .根據權利要求1所述的一種防扭分支纜,其特征在于:分支繩纜(21)上固定連接有多個連接件(41),每個連接件(41)上均固定連接有具有彈性的弧形板(4),每個弧形板(4)一端均固定連接有卡接桿(42),弧形板(4)另一端均開設有卡接槽(43),每個弧形板(4)的卡接桿(42)均能夠卡接于卡接槽(43)內,當卡接桿(42)卡接于卡接槽(43)內時,弧形板(4)能夠包圍主纜編織層(11)。
10 .根據權利要求9所述的一種深海儀器懸掛吊拉防扭分支纜繩,其特征在于:每個弧形板(4)上均開設有第一螺紋槽(44),弧形板(4)連接有第一螺栓(45),第一螺栓(45)轉動連接有具有彈性的連接條(5),連接條(5)的長度大于兩個相鄰弧形板(4)之間的距離,連接條(5)另一端轉動連接有第二螺栓(51),第一螺栓(45)和第二螺栓(51)均能夠螺紋連接于第一螺紋槽(44)內,連接條(5)靠近第二螺栓(51)一端開設有第二螺紋槽(52),第一螺栓(45)均能夠螺紋連接于第二螺紋槽(52)內。
聯系人:李經理(TEL:18363969016)
郵箱:lilu@qingdaohk.com
公司總部:山東·青島市市北區大沙路2號
工業園地址:山東·青島市城陽區雙元路182號-1

抖音掃一掃

微信掃一掃